0

WYBIERZ SWóJ KRAJ LUB REGION.

Blisko
  • Układy scalone
  • RF / IF i RFID
  • Optoelektronika
  • Czujniki, Przetworniki
  • Przełączniki

14,978,973 Produkty, 1,105 Kategorie   Zobacz wszystkie produkty zintegrowane (ICS) >

Aktualności

2023/09/13 Recom RACM600-L acdc psu

Podobnie jak oryginał, są to zapasy na otwartej ramie z aluminiowym podwoziem w kanale U o wymiarach ~ 200 x 200x 40 mm, tym razem dostarczając do 430 W przez chłodzenie konwekcyjne i za pomocą chłodzenia konwekcyjnego, a 600W w sposób ciągły, jeśli jest wystarczający przepływ powietrza.

Moc szczytowa z oryginału wynosiła (i pozostaje) 600 W, podczas gdy nowe mogą dostarczyć do 800 W za 5s w Still Air (10s wysadzony w wysokości 1,5 m/s, patrz szczegółowe informacje o danych danych), dzięki czemu są „odpowiednie dla powszechnie znalezionych obciążeń dynamicznychW nowoczesnych systemach ”, powiedziała firma.


Działanie wynosi ponad 80 -275 VAC, a -20 do +70 ° C wyrażone z przepływem powietrza i napięcia wejściowego.


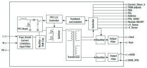
Recom RACM600-L psu block diag Istnieje wyjście na stanowisko 5 V /500mA, a elementy sterujące obejmują: zdalne włączenie, teledetekcja, moc wyjściowa i ± 20% przycinania dostosowania za pośrednictwem potencjometru lub PMBU.

Jednostki mogą być równoległe z aktywnym dzieleniem się obecnym, a diody lub ining są uwzględnione w celu zbędnego działania.

Wydajność szczytowa wynosi około 93%.

„Posiadane certyfikaty obejmują IEC/EN/UL 62368-1 dla IT/multimedia i IEC/EN/ANSI/AAMI 60601-1, 2MOPP Medical, z niskim prądem upływowym dla BF [podnoszącego się pod względem ciała] zastosowań związanych z połączeniem pacjenta”, wedługfirma.„Limity EMC klasy B są spełnione z dobrym marginesem, wysokość operacyjna wynosi do 5000 m, czyli 3000 m medycyny, a części są oceniane OVCII [kategoria nadpięć II].”

Znajdź stronę produktu RACM600-L TUTAJ, skąd znajduje się link do arkusza danych